Особенности работы гребенки
Регулировка пластиковых окон может осуществляться не только встроенными механизмами, но и при помощи гребенки. Она состоит из фиксатора и пластинки с зубцами. Компоненты гребенки могут быть выполнены из ПВХ или металла.
Кронштейн, на котором крепится пластина и сама пластина часто выполнены из одного материала, фиксатор может быть и из другого. Складной ограничитель открывания окна часто металлический.
У кронштейна, имеющего форму рамки и зубчатой планки шарнирное соединение, поэтому она может располагаться по отношению к оконной конструкции как под прямым углом, так и параллельно. Установленный фиксатор, занимая одну из ячеек пластины, регулирует степень открытия окна.
Гребёнка. Фиксатор оконной створки
Виды фиксаторов
Что следует учитывать при выборе фиксатора для окон?
При выборе ограничителя для пластиковых окон следует придерживаться некоторых правил:
монолитные конструкции без отдельных элементов, изготовленные из прочных материалов прослужат намного дольше хрупких многосоставных устройств;
при покупке поинтересуйтесь у продавца насколько крепкие крепления и сама гребенка
Если вы проживаете в месте, где ветер явление постоянное, тогда понадобится механизм, способный выдержать сильные порывы;
покупайте товар только в специализированных магазинах и имеющие сертификат качества;
отдавайте предпочтение металлическим или комбинированным конструкциям;
обращайте внимание на то, чтобы отверстия гребенки совпадали с отверстиями для винтов в ручке.. Опираясь на данные советы, вы сможете без труда подобрать устройства, подходящие под ваш тип окон условия их использования
Опираясь на данные советы, вы сможете без труда подобрать устройства, подходящие под ваш тип окон условия их использования.
Мастер или хенд-мэйд?
Установка ограничителя открывания окна может производиться самостоятельно в том случае, если модель фиксатора наружная. Тогда нужно присоединить детали ограничителя к профилю створки и раме. Прежде чем закреплять элементы, нужно наметить места, в которых они будут размещаться. Закрепляются фиксаторы саморезами при помощи отвертки или шуруповерта.
Установку устройств с более сложной модификацией лучше доверить специалистам. Даже минимальное вмешательство в систему окна может повлечь за собой нарушение механизма, и тогда окно будет неплотно прилегать к раме вследствие смещения элементов. В итоге окно потеряет свои шумоизоляционные и энергосберегающие способности.
№5. Замок-блокиратор
Обычно замками-блокираторами (или же фиксаторами) называют обычные врезные, накладные или вмонтированные в ручку замки или кнопки. Некоторые производители подразумевают под блокираторами совсем иные конструкции. Это даже не замок, а, скорее, защелка, причем их рекомендуют ставить сразу несколько по бокам и сверху окна. Конструкция крепится к створке, и при опущенном «язычке» не мешает распахивать и откидывать окно. Если же повернуть подвижные элементы защелки, то окно можно плотно закрыть. Открыть все элементы ребенок не сможет – они фиксируются очень плотно и высоко. Есть также блокираторы, где фиксация происходит за счет кнопки или ключа.
По удобству и функционалу такие фиксаторы уступают другим детским замкам на окна, но стоят очень дешево и легко монтируются. Еще один нюанс – внешний вид окна с блокираторами: видимость этих элементов может не всем понравиться.

Особенности некоторых видов евро-гребенки
Особенностями евро-гребенки является их долговечность, а в случае поломки – невысокая стоимость и возможность заменить на новую. Она применима к любому окну.
Данный вид ограничителя понравится тем, кто привык держать окно открытым при любой погоде и в любое время года. Если держать окно на распашку в зимнее время неразумно и рискованно, то проветривание с регуляцией, которое обеспечивает гребенка, станет прекрасной альтернативой.
Не рекомендуется приобретение товара в местах с сомнительной репутацией. Чтобы изделие прослужило максимально долго, необходимо покупать блокиратор фиксации в специализированных магазинах.
Использование удлиненных гребенок при наличии узких подоконников или рядом с зоной прохождения, может стать причиной травмы. Чтобы не сломать конструкцию сразу же после установки, выбирайте такую, которая имеет вертикальное положение. Есть гребенки с дополнительной фиксацией-защелкой, это хороший вариант для местности с регулярными ветрами.

Рис. 6. Евро гребенка для пластикового окна
Монтаж — пошаговый процесс и инструкции
Чтобы установить гребёнку на пластиковое окно потребуется приобрести следующие элементы:
- Ограничитель (гребёнка). Имеются несколько вариаций. В продаже чаще встречаются модели с возможностью открытия окна на 2-6 см.
- Дрель со сверлом на 2-5 мм (ни в коем случае не больше).
- Отвёртка. Подойдёт любая, но лучше ориентироваться от характеристик болтов, установленных на креплении ручки. Это можно узнать, отодвинув пластиковую задвижку (необходимо её поддеть чем-нибудь тонким и провернуть).
- Карандаш или ручка.
- Несколько саморезов.
- Возможно потребуется фотоаппарат (можно использовать любую доступную камеру).
Изначально необходимо снять саму ручку, под которую будет установлена специальная скобка. Затем её необходимо будет поставить на место, поэтому нужно запомнить месторасположение всех элементов в нужной последовательности (для удобства используется фотоаппарат). Процесс снятия:
- Пластиковая задвижка проворачивается на 180 градусов. Для этого её нужно поддеть при помощи ногтя. После щелчка свободно проворачивается. Без проблем устанавливается на прежнее место.
- При помощи отвёртки откручиваются болты.
- Конструкция снимается.
Затем идёт установка скобки. Монтаж простой — необходимо «примерить» скобку, а затем установить поверх неё ручку. Установка ручки происходит аналогично процессу снятия, но только в обратном порядке.

Теперь можно поставить гребёнку, которая и будет ограничителем. Обязательно «примерьте», в противном случае её придётся устанавливать повторно, а на старом месте могут остаться следы от крепежей. Разметьте место карандашом или ручкой (после установки стирается без проблем). Также отметьте места, куда будут вставляться саморезы.
Затем гребешок можно отложить и просверлить при помощи дрели неглубокие отверстия. Не стоит боятся повредить пластик, т.к. при правильной разметке дефекты будут незаметны. Ограничитель снова ставится на место и фиксируется. Далее прикручивается шурупами или саморезами.
Также можно обойтись и без дрели, вкрутив саморез руками. Однако, нужно действовать аккуратно и стараться закрепить их как можно лучше. В противном случае гребешок может отвалится, а не его месте останутся следы, при этом установить повторно не получится.
Ручка с замком
Виды защитных устройств
Установка ограничителя
Процесс подразумевает использование следующих вспомогательных инструментов:
- Гребенка;
- Дрель с очень тонким сверлом (примерно 2-3 мм);
- Отвертка;
- Карандаш.
Пошаговое описание процесса установки:
- Для начала нужно найти на ручке заглушку, которая имеется на всех пластиковых окнах, и повернуть ее так, чтобы она приняла горизонтальное положение.
- Теперь можно увидеть болты, которые крепят ручку к створке и открутить их.
- Далее необходимо снять ручку. На это место нужно приложить металлическую скобу и поставить на место ручку.
- Теперь требуется найти идеально подходящее место для ограничителя на «мертвой» створке, отметить его карандашом и прикрутить его.
Покупать это устройство или нет — личное дело каждого. Кому-то нравится все делать своими руками, а кто-то предпочитает покупать уже готовые изделия. В любом случае, данная статья содержит полезную информацию касающуюся выбора ограничителя, изготовления его собственными руками и дальнейшего монтажа.
Оконный ограничитель для проветривания
Устанавливаем оконный ограничиватель
Итак, приступим. Для начала нужно снять ручку окна (это делается для того, чтобы получить свободный доступ к шурупам и провернуть декоративную планку), затем на место под ручкой установить фиксатор, дальше саму ручку нужно вернуть на место (она и будет удерживать фиксатор). Следующим шагом стоит на установленный ранее фиксатор надеть оконную гребёнку (зубцы при этом направлены вниз). Теперь при помощи карандаша или маркера наметить на раме точки для отверстий под крепления гребня. Проверить, правильно ли функционирует ограничитель. При помощи дрели высверлить первое отверстие (сверлить нужно аккуратно), саморезом зафиксировать гребень вертикально. Теперь просверлить второе отверстие и зафиксировать гребень ограничителя при помощи второго самореза.
Для того, чтобы установить оконный ограничитель, вы потратите не больше 10 минут своего времени.
Конструктивные элементы ограничителя
Типовой блокиратор называют «гребенкой» или «крокодильчиком» из-за внешнего вида устройства. Фиксатор отличается незамысловатым конструктивом и схемой работы.
Самая простая модель оконного ограничителя состоит из двух частей:
- Гребенка. Удлиненная планка с пазами и шарнирным соединением для подъема/опускания механизма. Количество «зарубин» на пластине определяет диапазон открывания окна. Наиболее популярны четырехпозиционные модели.
- Фиксатор. Ответная часть размещена на подвижной створке. Небольшой металлический штырь удерживает положение гребенки.
Конструкция оконного ограничителя:
Ответная часть. Выполнена из металла
Пластина с пазами. Может быть изготовлена из металла или из пластмассы
Применение ограничителя заключается в выборе уровня открывания окна и преставлении штифта между разными позициями гребенки.
Фурнитурный замок
Об этом типе ограничителей я узнал случайно. Пока что такие фурнитурные замки мне кажутся лучшей защитой — правда, в продаже их встретишь нечасто. Я купил свой замок в «Петровиче» за 350 Р, в других магазинах ищите по запросу «детский ограничитель открывания».
Принцип работы такой: металлическая планка устанавливается в верхней части окна между рамой и створкой. Ограничитель совсем не видно, когда окно закрыто: он прилегает к профилю. В заблокированном состоянии фурнитурный замок не позволяет открывать окно более чем на 8—9 см.
Левая планка крепится к раме, а правая — к створке окна. Когда окно закрыто, планки образуют одну линию: правая планка скользит в пазе левой. Небольшой рычажок с буквами FSMB нужен для разблокировки — чтобы распахнуть окно, поверните его
Шире створку не открыть: ограничитель работает так же, как цепочка на входной двери | Чтобы распахнуть окно, нужно повернуть рычаг и снять ограничитель с бочонка на створке окна |
Шире створку не открыть: ограничитель работает так же, как цепочка на входной двери Чтобы распахнуть окно, нужно повернуть рычаг и снять ограничитель с бочонка на створке окна
Такой ограничитель подходит для поворотных и поворотно-откидных створок. Ключа здесь нет. Устанавливается за 5 минут с помощью отвертки и линейки. Если есть шуруповерт, справитесь еще быстрее. Будьте осторожны: потребуется закрутить три самореза, стоя на подоконнике у открытого окна.
Я установил фурнитурные замки на все окна, которые использую для проветривания. На остальные створки, которые открываю редко, поставил ручки с замками — не выбрасывать же то, что купил.
Для чего используют гребенки
Механизм ограничения открытия створки принято называть гребенкой, в народе крокодильчиком. Его настоящее наименование – блокиратор открывания. Зубчатая основа похожа на расческу гребешок. Отсюда и пошло название механизма. Ограничитель позволяет закрепить открытое окно на ширину до 10 см. Он имеет вид пластины с вырезанными пазами и фиксатора.
Крепят его на профиль, на ручку устанавливают специальный штекер, который будет попадать в пазы и держать створку в нужном положении. Ограничитель позволяет оставить приоткрытое окно без присмотра, не переживая, что оно распахнется при сквозняке. Это поможет регулярно проветривать помещение без риска повреждения оконной конструкции.
Гребенку устанавливают на поворотных рамах без откидного открывания. Она будет важным элементом окна, в котором отсутствует верхнее открывание.

Во время замены старых окон фиксаторы не устанавливаются потому, что в стандартном наборе гребенки нет. Ее придется заказывать отдельно и крепить своими руками. Створку можно будет зафиксировать от 0,5 до 10 см. Определяется это на этапе выбора ограничителя. Он надежно держит створку в любом положении и не даст ей закрыться.
Вентиляция воздуха осуществляется за счет образовавшегося зазора. Интенсивность потока свежего воздуха зависит от ширины открытия створки. Но для того, чтобы предотвратить сквозняки, не стоит слишком широко распахивать створку.
Что такое гребенка для пластикового окна
Крокодильчик или гребенка, так называют специальное устройство, ограничивающее открывание оконной створки. Она не входит в стандартную комплектацию окон, ее можно заказать при монтаже или купить и установить на готовые окна. Гребенка лучше всего подойдет для поворотных окон без откидного открывания и представляет собой простое устройство, состоящее из планки с зубцами и втулки-фиксатора. Она будет незаменима для проветривания в окнах, в которых не предусмотрено верхнее открывание.
Зубцы фиксируют открывание створки с зазором от 5 до 80 мм в зависимости от типа гребенки.
При этом створка не закроется от сквозняка или порыва ветра. Также такая конструкция поможет предотвратить резкое отрывание створки, что очень актуально для любителей комнатных цветов и домашних животных.
Плюсы и минусы такого способа защиты
Общие достоинства:
- дешевизна, простота и одновременно полная эффективность;
- для любых окон, есть даже некое подобие для раздвижных систем;
- простая установка;
- большое количество режимов;
- Конятный алгоритм работы, удобное и быстрое управление.
Плюсы безопасной гребенки:
- можно использовать вместо детского замка – ребенку будет сложно понять алгоритм работы, конечно, если он перед этим не будет наблюдать, как действует устройство в руках взрослых;
- намного больше позиций.
Недостатки:
- Крепление нарушает целостность профиля. Впрочем, это характерно для большинства подобных устройств.
- При сильных порывах ветра при тяжелых створках может вырвать крепежи или они разболтаются.
- Достаточно заметная, хотя и скрытая около наплава.
- Минус обычной (не безопасной) гребенки – не может служить защитой от детей.
№6. Заглушка, или замок-розетка
Название у замка-розетки какое-то не очень безопасное. Конструкцию именовали подобным образом, так как увидели сходство с функционированием любого электрического прибора. Достаточно вставить специальную съемную ручку в положенное отверстие, чтобы окно «заработало». Это отверстие на раме эстетично прикрывается специальной заглушкой. У ребенка не будет никаких шансов открыть окно, так как ручка будет спрятана у родителей. Фиксировать створку можно в любом положении. Главный минус – ручку необходимо носить с собой или прятать в самом непредсказуемом месте, чтобы малыш ее не нашел. Такое решение обойдется минимальными растратами, но подходит преимущественно для пластиковых окон.
Монтаж несложно выполнить самостоятельно. Вместо старой ручки и заглушки монтируется новая декоративная заглушка, причем на один болт, чтобы ее можно было повернуть и вставить съемную руку.

Виды гребенок
Фиксатор для обычного проветривания
Гребенки для обычного проветривания применяются для бюджетных ходовых окон. Конструкция имеет невысокую стоимость, монтируется просто и быстро, обладает неоспоримыми преимуществами:
- не оказывает негативного воздействия на целостность рамы;
- позволяет обдуваться окну по всей площади, защищая от запотевания и выпадения конденсата;
- дает возможность регулировать величину потока воздуха.
Недостаток приспособления только один – фиксирующая планка легко выскакивает из паза, что может привести к полному и неконтролируемому открыванию окна. Если в доме есть маленькие дети или животные – это небезопасно.
Ограничитель для безопасного проветривания
Если рассмотренный выше вариант актуален для офисов, то в частных жилищах уместно использовать гребенки для безопасного проветривания. Устройство получило такое название благодаря тому, что планка надежно и плотно фиксируется в пазе. Случайным образом ее невозможно открыть, поэтому ни сквозняк, ни кошка не смогут распахнуть окно.

Ограничитель с зацепом установленным под ручку
Следует понимать, что сооружение не может обезопасить жилище от проникновения воров на нижних этажах. Фиксатор не является замком или преградой к вторжению в жилище. Также не рекомендуется в холодное время года устанавливать оконный проем на проветривание с помощью гребенки на долгий промежуток времени. Это может стать причиной появления сквозняка и быстрого охлаждения помещения.
Детский замок на окнаМоскитные сетки на окнаУличный градусник на окно
Блокиратор открывания окон с алюминиевыми створками
Открывание алюминиевого окна в режиме проветривания при помощи гребенки ничем не отличается от обычного металлопластикового стеклопакета. Соответственно используются рассмотренные выше виды фиксаторов.
Конструкция состоит из штифта и гребенки. Штифт изготавливается из стального материала. Ограничитель имеет пластиковую основу или металлическую, с фиксациями от четырех до пяти зубьев.
Рассмотрим каждый из вариантов.
Металлическая гребенка может быть импортного и отечественного производства.
Достоинствами конструкции являются:
Плюсы
возможность щелевого проветривания
надежность фиксации
смещение в сторону
большая площадь проветривания
Чтобы установка гребенки прошла быстро и без осложнений, следует учитывать такие факторы: должно быть достаточно места для установки (не менее 4 см от центра фиксации блокиратора), штифт не должен упираться в какие-либо основания или предметы. Необходимо проверить возможные способы монтажа.
Пластиковые гребенки для окон из алюминия имеют свои преимущества и недостатки. Среди достоинств конструкции можно отметить возможность проветривания в различных вариантах.
Недостатками оборудования являются:
Минусы
издает посторонние звуки при порывах ветра
при поломке сложно найти замену
Пластиковые гребенки в евро исполнении
Пластиковая евро-гребенка имеет подобный механизм работы: позволяет проветривать помещение, защищает окна от захлопывания с повреждением.
Основными преимуществами евро блокираторов такие:
Плюсы
легко монтируются
большое разнообразие цветовой гаммы
имеют доступную стоимость
Стоимость евро гребенки зависит от компании-производителя и колеблется в промежутке от 5 до 8 долларов.
Металлические фиксирующие держатели
Металлический ограничитель открывания окна более долговечный, чем пластиковый. Это объясняется материалом, из которого он изготавливается. Но, при этом, он стоит дороже.
Здесь выбор за покупателем. Лучше один раз приобрести качественный материал.

Ограничитель с нестандартными геометрическими параметрами

Гребенка может монтироваться и в нижней части окна
Как закрепить пластмассовую гребенку
Перед установкой пластмассовой гребенки требуется демонтировать оконную ручку
Важно помнить положение ручки в каком она находилась перед снятием, так как после крепления фиксатора, ручку нужно установить в том же положении
Напротив – на оконной раме крепится пластинка гребенки. Регулировка пластиковых окон, осуществляется с помощью фиксатора, занимающего одно из положений на пластине. К процессу установки нужно подойти со всей ответственностью, поскольку выполнения повторного монтажа аксессуара не представляется возможным.
Поэтапная установка ограничителя
Установка ограничителя по типу гребенка включает следующие этапы:
Разборка ручки. Декоративная панель, прикрывающая шурупы крепления ручки, проворачивается. Затем откручиваются саморезы и ручка изымается.
Устанавливают фиксатор таким образом, чтобы все его отверстия и места вкручивания саморезов совпадали.
После установки фиксатора ручка вставляется в том же положении и закрепляется саморезами.
На установленный фиксатор надевается пластинка гребенки, створка окна приоткрывается таким образом, чтобы кронштейн прилегал к раме.
- С помощью карандаша делаем отметку места установки кронштейна.
- Прикладываем кронштейн к разметке и крепим его к раме пластикового окна при помощи саморезов.
Гребенка устанавливается только напротив ручки. Складной ограничитель устанавливают в верхней части окна или дверей.
Недостатки ограничителей открывания окна
Отрегулированный ограничитель открывания створки способен обеспечить проветривание помещения. Режимы пластиковых окон легко увеличить с помощью ограничителей, но наряду с этим они имеют и ряд своих недостатков.
Тросовые ограничители часто приходят в негодность через износ троса. К тому же угол открывания окна ограничивается длиной троса. Крепление на пластиковых окнах можно установить только однократно. Использование ограничителей открывания окна на нижних этажах дома не безопасно, поскольку створка остается открытой – такое ограничение не способно защитить от проникновения.
При приоткрытом проеме воздушный поток распространяется вертикально и горизонтально – находится рядом возле него не всегда приятно. Открытие окна, означает, что все его шумоизоляционные свойства нивелируются.
При использовании ограничителей образуется щель внушительной площади. Поэтому при использовании их в прохладное время года помещение быстро охлаждается. Складной механизм поддается быстрому износу.
Как установить гребенку на пластиковое окно. 3 вида гребенок.
Как подобрать нужную для ПВХ-конструкций?
Выбор нужного ограничителя зависит от того:
- насколько ветреная погода в регионе;
- как часто нужно открывать окно;
- массы и габаритов створок.
Также рекомендуется следовать следующим критериям:
- для мансардных стеклопакетов, балконных дверей или створок, которые открываются наверх рекомендуется использовать тормоз постоянного действия, так как он может выдерживать большие нагрузки, а также не даст окну резко открыться или закрыться;
- для обычных окон, которые не будут часто открываться подойдет обычная наружная гребенка, но если напротив ручки установлена какая-то фурнитура, то рекомендуется использовать установленную в наплав или скрытую;
- если достаточно обычной гребенки, но существует вероятность сильного ветра или створки тяжелые и большие, то следует выбирать фиксатор из металла.
Особенности проведения монтажа
Чаще на торговых площадках встречаются гребенки с ответной частью для крепления с ручкой. Поэтому сначала рассмотрим как установить такой ограничитель для окон ПВХ. Начинается работа с фиксации площадки с зацепом:
- сдвигается декоративная накладка с механизма рукоятки;
- выкручиваются винты;
- демонтируется ручка;
- накладывается площадка с зацепом в соответствии с монтажными отверстиями;
- конструкция собирается в обратном порядке (ручка, крепеж, планка).

Место расположения планки с зацепом под ручкуИсточник oknanagoda.com
Положение площадки с гребенкой при таком подходе удобнее определить. Достаточно ее приложить к раме створки в приоткрытом положении, опустить планку на зацеп в той или иной позиции, приподнять кронштейн на несколько мм. На месте отверстий наносится разметка под саморезы. По точкам высверливаются отверстия, а в них вкручиваются метизы для крепления кронштейна.
Рассмотрим, как установить фиксатор на пластиковое окно с зацепом на наплав. Здесь также работа начинается с крепления ответной части. Выбирается удобный участок на торце створки по центру наплава. Для фиксации высверливается отверстие под винтовой крепеж. Площадка с гребенкой монтируется по аналогии с первыми образцами.
Вероятные ошибки во время монтажа
Чаще всего перед креплением гребенки площадку прикладывают только с целью определения высоты ее крепления
Однако важно также учитывать удаленность пластинки от зацепа. Планка должна свободно накидываться на штифт, располагаться под прямым углом относительно посадочного места
В ином случае изделия быстрее выйдут из строя.

Ровно установленная гребенкаИсточник cloudfront.net
Вторая распространенная ошибка – несоответствие ограничителя характеристикам обслуживаемой створки. Например, в случае с тяжелыми конструкциями недопустим выбор компактных образцов с площадками под один саморез. Тогда крепежные узлы быстро расшатываются из-за повышенной нагрузки.
Специалисты в рекомендациях упоминают о глубине самостоятельно формируемых отверстий в пределах 13 мм. Любое нарушение целостности профиля – это риск деформации рамы, появление мостика холода. Чем толще и глубже будет повреждение, тем выше вероятность замерзания окон или искривления рамы даже от сильного порыва ветра. Последнее также приводит к разгерметизации стыка створки с оконным переплетом.
Видео описание
В этом видео продемонстрирован процесс установки простой гребенки на балконную дверь с ответной площадкой под ручку:
Видео описание
В этом видео практикующий мастер детально показывает с комментариями как установить три типа ограничителей открывания створки на пластиковое окно:
Коротко о главном
Гребенка – это ограничитель открывания створки на окне с целью проветривания помещений.
Планка может быть изготовлена с пазами под зацеп на боковой стороне либо вдоль одной из кромок.
Планка подвижная, закреплена на площадке, которая крепится к основной раме окна.
Ответная часть может быть изготовлена в форме площадки под ручку, либо крепиться в наплав на торце створки.
Ограничители могут быть пластиковыми, металлическими либо производятся с использованием обоих материалов.
Как правильно поставить на окно?
Рассмотрим несколько вариантов монтажа рейки-фиксатора в зависмости от конструкции ручки и самого изделия.
Под ручку с пластинами-штифтами
У алюминиевых окон часто ручки имеют особую конструкцию с одним или двумя плоскими штифтами. Если выбран зацеп не на наплав, то проблем не возникнет, но для изделия под скобу есть особенности и они касаются именно части со стержнем.
Открываем окно, смотрим, какими саморезами прикреплена ручка, часто они с головками под шестиграннники (4 или 6). Откручиваем и снимаем скобу.
Ручку нужно снять как можно более цельной, не разъединяя ее детали. Надо смотреть, чтобы она не упала и механизм не разлетелся. В противном случае собрать скобу будет очень сложно.
Важно, чтобы она была в таком же положении, как и при демонтаже
Надо сделать небольшой зазор (в 5 мм) между вертикальным торцом створки и зафиксированной зубчатой планкой, чтобы полотно при открывании не терлось об нее.
Рейку с выемками надо тоже установить так, чтобы она в горизонтальном положении была выше на несколько мм, то есть не слишком низко, иначе возрастет риск самопроизвольной расцепки при порывах ветра.
Но если планка с выемками в виде крюкообразных зубьев (риск расцепления нивелируется), то высоту размещения кронштейна можно сделать более значительной, но нужно помнить, что при этом сокращаются выставляемые зазоры, а первый вырез может вообще не достать до штифта. Впрочем, иногда так делают, если надо скорректировать возможные позиции.
Саморезы используем 3,9х16 мм по металлу, сверлоконечные. Есть такие с пластиковыми шляпками-накладками для скрытия головок. Пр описанном нами размещении первая позиция создаст зазор наподобие положения для микропроветривания. Если оно уже есть в опциональности фурнитуры, то его можно игнорировать.
Как установить на обычные рамы и на наплав?
Перед тем как приступить к установке ограничителя-гребенки, во всех случаях независимо от от ее модификации надо проверить, правильно ли настроена створка, нет ли перекосов, свисаний. Незначительные особенности, например, сильный или слабый прижим не значим, но заметное неправильное положение или нарушенная геометрия рамы может привести к тому, что после устранения этих недостатков не будет надежного зацепа, изделие будет сгибаться.

Начнем с установки части со штифтом, под ручку
Берем деталь с зацепом, ставим ее в подошву ручки так, чтобы в ее вырезы вошел штифт и саморезы (при выкручивании не вынимаем их). Вставляем скобу с этой деталью на свое место, не доводим винты до конца, поправляем перекосы, затягиваем крепление, закрываем декоративной накладкой.
Монтаж планки с вырезами: прикладываем к месту монтажа, намечаем карандашом места саморезов (через отверстия в подошве). Металлическая втулка кронштейна должна быть чуть выше или прямо напротив штифта.
Используем оцинкованные (черные ржавеют) саморезы 11 мм длиной. Подошву кронштейна размещаем наравне с торцом наплава или на несколько мм отступаем. Перед вкручиванием второго шурупа проверяем, как работает изделие во всех позициях.
Крепление штифта в наплав
Например, часть с штифтом под ручки Roto swing с особой розеткой будет выступать, что понижает эстетику. А также этот сегмент невозможно установить на большие скобы балконных комплексов. В этом и подобных случаях можно применить модель с ответной частью, устанавлиаемомй на наплаве.
Делаем разметку – место установки по центру торца наплава. Засверливаем через отверстие колпачка сверлом «двойкой», приставляем этот цилиндрик и крепим его саморезом. Затем делаем разметку для второй части на импосте: накидываем ее на штифт, подошву размещаем чуть выше него, ставим отметки через места для шурупов.
Смотрим, чтобы подошва рейки при закрывании окна не упиралась во втулку. Фиксируем один болтик. Проверяем работу, не мешает ли изделие закрытию/открытию створки. Закручиваем второй шуруп.
Монтаж хомутовидной, с защитой от детей, гребенки
Безопасный ограничитель можно устанавливать в любом месте, его часть с язычком не под ручку. Мы выбрали место немного выше скобы. Сверлить не надо, так как саморезы имеют сверлоподобную часть. Деталь со штифтом в этой модификации крепится на фронтальной части рамы створки.

В данном случае есть нюанс: над смотреть, чтобы часть, показанная на втором фото слегка зашла в два небольших выступа на ответке. Приставляем этот сегмент, ставим отметки через отверстия для шурупов.
Крепим первый саморез, проверяем, ровно ли стоит планка, все ли хорошо работает, фиксируем второй крепеж. На фото видно, как соотносится верх элемента в опущенном состоянии с ответкой.

Разновидности приспособлений
Всего существует три признака, по которым можно классифицировать ограничители на пластиковые окна. Это материал для производства, дизайнерское решение и функциональность. Рассмотрим особенности каждой разновидности.
Вся бюджетная категория изделий представлена образцами из пластика. Немного дороже стоят экземпляры с металлическими кронштейнами. Более надежные гребенки полностью изготавливаются из стали, меди, латуни или иного металла. На зацепах дополнительно может быть нанизана прорезиненная накладка. Здесь же рассматриваются варианты сплошного или частичного окрашивания в тот или иной цвет.

Цветная гребенка с белой ответной площадкой с зацепомИсточник vsecuplu.ru
В конструктивном плане выделяются 2 группы ограничителей. Условно они называются «Евро» и «СССР». Первый вариант предназначен для обеспечения проветривания помещения в зимний период. Причина в удерживании створки на минимальном расстоянии от основной рамы. То есть холодный поток свежего воздуха поступает в дом в малом объеме. «Советские» гребенки позволяют открывать окна в сравнительно большей степени. Такой режим устанавливается в теплую погоду.
Модификации пластиковых образцов
Евро-гребенка с рельефной кромкой может быть изготовлена двумя типами ответных площадок под зацеп. Здесь можно выбрать овальную или прямоугольную форму, что соответствует декоративной накладке на оконной ручке. Размеры у изделий стандартные, поэтому выбор ограничивается только геометрией.
Другой вариант конструктивного исполнения позволяет выполнить установку фиксатора на удобном участке пластикового окна. Здесь зацеп крепится на торцевой части створки (в наплав). То есть зависимость от расположения ручки или иного элемента фурнитуры в этом случае отсутствует.

фиксатор на наплаве торца створки с гребенкойИсточник ozone.ru
Модификации металлических изделий
Ассортимент гребенок из меди, алюминия или иного металла представлен теми же конструктивными решениями, что и пластиковые образцы. Однако здесь все же имеется дополнительная градация. Среди критериев выбора выделяется производитель.
Импортные ограничители отличаются от отечественных по двум параметрам.
Опорная часть фиксируется на самом профиле посредством резьбового крепежа, что позволяет самостоятельно определять высоту расположения гребенки. Зацеп имеет резиновую накладку для исключения вибраций от порывов ветра. На деревянных окнах такое решение не рекомендуется практиковать, так как есть вероятность появления трещин.
В группе металлических изделий стоит отметить отдельный подвид типа «СССР». Это стальной образец, на пластинке которого 5 прорезей. Основное отличие заключается в том, что гребенка относительно длинная. Это считается недостатком, так как отсутствует возможность создания минимальной щели для осуществления микропроветривания помещений.
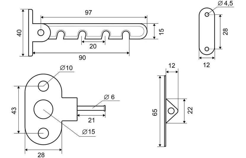
Размерный ряд
У импортных и отечественных ограничителей физические параметры могут отличаться.

Размеры классической гребенки для ПВХ оконИсточник palladium.ru
Поэтому перед тем, как решать какую гребенку установить для пластиковых окон, нужно определиться с длиной планки, прочностью изделий в соответствии с размерами створки. Как правило, высота и ширина фиксатора составляет 12 и 40 мм или 15 и 55 мм (Россия и импорт). Общая длина обычно равна 84 мм, где шаг между пазами под зацеп – 20 мм. При этом расстояние между кронштейном и первым углублением бывает 24. 44, 64, 84 мм.
У ограничителей с ответной площадкой монтируемой в наплав впадины под фиксатор также чаще сформированы с шагом в 20 мм. Здесь первый паз располагается с отступом от кронштейна на 40-100 мм. Зацеп выступает всего на 16 мм в отличие от 21 мм у аналогов под ручку.


Шире створку не открыть: ограничитель работает так же, как цепочка на входной двери
Чтобы распахнуть окно, нужно повернуть рычаг и снять ограничитель с бочонка на створке окна

































