Разновидности
Состоит столбчатый фундамент из плитной части из 1–5 ступеней и подколонника, полнотелого или полого – стакана. Вид его зависит от типа и материала колонны.
Различают 2 вида:
Металлическая – состоит из оголовка, к которому крепят ригели и балки, стержня и базы – части, соприкасающейся с фундаментом. Бывают сплошные и сквозные колонны – решетчатые, перфорированные. Последние меньше весят и проще в монтаже. Изготавливают конструкции из балок и прокатного профиля.
- Железобетонная – производится из армированного бетона марки М300, М400, М600. Конструкция типовая. При малом сечении она выдерживает высокую несущую нагрузку и в отличие от металлической не боится воды. Форма круглая, квадратная и прямоугольная. Круглая чаще встречается у декоративных элементов.
Колонна непрерывно взаимодействует с основанием, нарушение положения хотя бы одной опоры приводит к обрушению дома. Поэтому под колонны не рекомендуется использовать сваи.
Столбчатый фундамент бывает 2 видов:
- Монолитный – готовое сооружение, в которых столбы установлены по определенной схеме. Колонны закрепляют на фундамент болтами.
- Сборный – каждое основание производится отдельно, на строительной площадке или на заводе, и отдельно устанавливается. Сверху опоры бетонируют, чтобы избежать появления расщелин.
Материал для столбчатого фундамента выбирают исходя из нагрузки и материала колонны:
- Бетонные основания – а точнее, железобетонные. Выполняются из тяжелого бетона и упрочняются специальной арматурой. Под металлические колонны ставят только монолитный бетонный, под кирпичные допускается сборный вариант.
- Кирпичные – выдерживают меньшую нагрузку и используются для малоэтажных зданий.
- Деревянные – подходят только для деревянных или каркасных зданий.
- В частном строительстве встречаются опоры из бетонных или асбестовых труб.
Технология строительства
Возводятся фундаменты с элементами стаканного типа в полном соответствии с правилами ГОСТов под контролем опытных строителей. Собирается основание просто, для чего существует целая технология:
перед строительством основания выполняются расчеты на отдельные монолитные или сборные конструкции
Обратив пристальное внимание на разрез, можно увидеть усложненное армирование каркаса, являющегося основой для плитной части и стакана. Элементы каркасной основы рассчитываются по отдельности, как и значение ширины самого стакана
Параметры плиты остаются стандартными;
готовится поверхность. Площадка, отведенная под застройку, очищается от мусора, поверхность земли выравнивается, выполняется разметка. Выравнивать поверхность необходимо идеально, потому что фундаментные плиты нельзя смещать (разрешенное отклонение – 1 – 1.5 градуса). В случае, когда поверхность недостаточно ровная, разрешается выполнить подсыпку песка, слой которого должен быть не менее тридцати сантиметров по отношению к подошве фундамента;
размечаются оси предполагаемого основания. С этой целью на обноске выполняется монтаж проволоки либо стального троса, делается протяжка по осям. Места соединений четко определены проектным решением, как и длины промежуточных балок. С помощью которых выполняются соединения;
наносятся границы будущей фундаментной основы, выкапывается нужной глубины траншея. Дно ямы выравнивается, устраивается песчаная подушка, насыпной слой уплотняется;
по выполнению подготовительных работ переходят к монтажу. Работы выполняются в соответствии с технологиями, постоянно контролируется вертикальная и горизонтальная точность. После монтажа вся конструкция армируется, при этом открытая стаканная плоскость укрепляется металлическими прутьями;
установка блочных элементов заканчивается тем что бетонный раствор набирает требуемую прочность. Затем разрешается выполнять установку колонн в стаканы фундаментов.

Монтаж монолитного ростверка
Для заливки бетонного раствора необходимо смонтировать качественную опалубку
Для заливки бетонного раствора необходимо смонтировать качественную опалубку. Начинают с нижних удерживающих щитов. Для этого необходимо нарезать доски, равные шагу между колоннами фундамента. Для их крепления рекомендуется вбить в грунт удерживающие колья. Доски опалубки укладывают на колья вровень с верхним краем столбов.
Боковые щиты опалубки крепят по краям и надежно фиксируют. Боковые планки опалубки можно устелить рубероидом.
Следующим этапом проводят армирование всей конструкции. Здесь стандартно используют армопояс из горизонтальных прутьев сечением 12-16 мм и продольных элементов сечением 6-8 мм
Важно в местах столбов связать арматуру с выступающими из колонн прутьями
Заливку раствора для ростверка нужно проводить в один этап. Поэтому лучше заказать строительный миксер или бетономешалку нужного объема. При заливке бетона необходимо трамбовать раствор через каждые 30 см. Общая толщина (высота) ростверка, как правило, не превышает 60 см.
Через 7-10 дней при условии хорошей сухой погоды бетон считается полностью застывшим. Теперь можно снимать опалубку и давать фундаменту устояться. Все поверхности ростверка также покрывают гидроизоляционными материалами.
После полного высыхания конструкции необходимо провести обратную засыпку котлована с трамбовкой грунта вокруг колонн. Котлован засыпают вровень с отметкой надземной части колонн фундамента. Для декорирования опорных столбов и снижения уровня теплопотерь можно использовать декоративную обшивку столбов сайдингом или же произвести кладку природного камня.
https://youtube.com/watch?v=6hzHFmYjOjQ
Изготовление фундаментов стаканного типа и основные требования к ним
При установке таких оснований нужно помнить, что прочность изделия может быть достигнута только за счет использования качественных строительных материалов и хорошего армирования. Поэтому железобетонный фундамент и отличается длительным сроком эксплуатации.
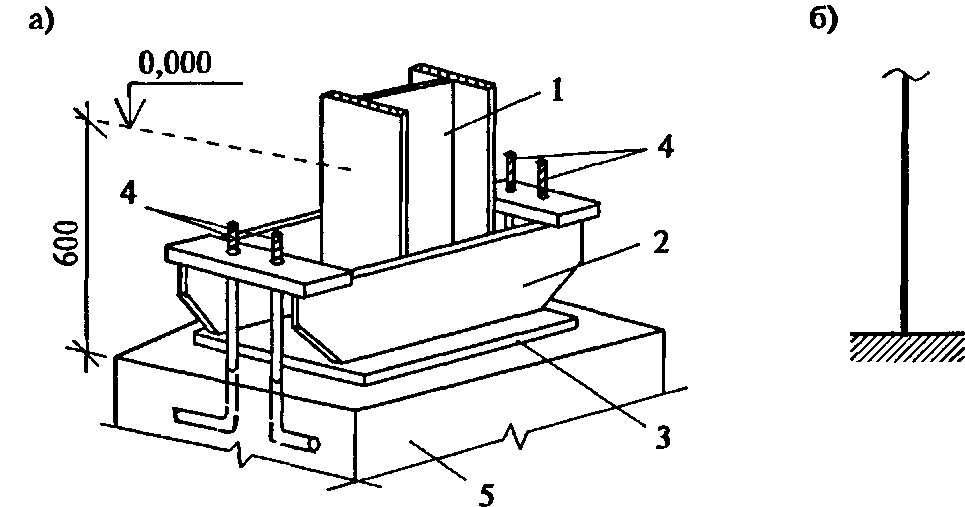
Установка колонны в стакан фундамента.
Этот тип основания редко используется в общем частном строительстве, потому что отличается высокой стоимостью и необходимостью использовать механизированную технику. Основание запрещено ставить на пучинистых и просадочных почвах. Технология предусматривает установку железобетонных опор и стоек в готовый стакан, в котором затем происходит фиксация.
Требования к фундаменту:
- Бетон должен соответствовать М200 и обладать степенью водонепроницаемости В2;
- Транспортировку стоек следует осуществлять на место строительства только после того, как основание наберет необходимый запас прочности;
- Следует обязательно выполнить армирование основания. Толщина слоя бетона вокруг армирования должна составлять не менее 30 мм;
- Обнаженная арматура – заводской брак, в строительстве использовать такие изделия категорически запрещено;
- Если в бетоне есть трещины с толщиной более 0,1 мм, то это также брак;
- Все производственные петли в блоках нужно аккуратно демонтировать, забивать их в бетон категорически запрещено.
Когда нужно обязательно использовать стаканный фундамент
- При строительстве промышленных и частных зданий общего назначения, в несущей конструкции которых используются бетонные опоры и стойки;
- При возведении электростанций, а также в атомной промышленности, при монтаже армированных стоек для машинных и конденсационных отделений;
- При проведении реставрационно-востановительных работ на стойках и колоннах в административных зданиях;
- Если проектом предусмотрено использование стоек как единственно возможной несущей конструкции здания.
Преимущества стаканных фундаментов
- Высокая прочность и качество заводских блоков, т.к. при их производстве осуществляется контроль качества и проверка на прочность и разрыв всех несущих элементов;
- Это оптимальное основание для строительства промышленных зданий, где присутствуют локальные нагрузки на единицу площади фундамента;
- Простая технология монтажа;
- Экономия сил и времени на возведении фундамента.
Также нужно учитывать необходимость транспортировки отдельных стоек и колонн непосредственно от производителя, а, учитывая их размеры, иногда приходится продумывать специальные маршруты следования.
Монтаж стаканного фундамента
Учитывая ключевые особенности рассматриваемых фундаментов, монтаж проводится только под непосредственным наблюдением специалистов. Только они способны контролировать весь процесс установки опор и правильность их армирования. В процессе монтажа, железобетонные изделия проходят несколько этапов:
- Подготовка поверхности. Ее тщательно выравнивают, т.к. смещение железобетонных балок в фундаментах стаканного типа крайне нежелательно;
- Подготовка углублений. Выкапываются на конкретную глубину, затем выполняется их укрепление гравием, тщательно трамбуются;
- Устройство железобетонного фундамента. На этом этапе также используется трамбовка грунта, а также происходит установка блоков.
Ключевая задача, которая стоит перед фундаментами стаканного типа – это обеспечение равномерного распределения нагрузок по всей поверхности почвы. Соответственно, использовать стаканные основания можно только на такой почве, которая способна выдержать большие нагрузки и не проседать со временем.
Особенности фундаментов под стальные колонны
Металлическая колонна с анкерными креплениями
Существует ряд зданий, где есть особенные требования к типу и прочности фундаментов. В большинстве случаев, это объекты промышленного назначения, а также различные предприятия энергетической отрасли.
Такие здания часто возводятся на фундаментах каркасного типа, где основную нагрузку принимает на себя металлическая колонна, установленная внутри специальной бетонной чаши или углубления.
Все фундаменты под стальные колонны отличаются особенной конструкцией, ведь изначально создается прямоугольная или квадратная бетонная подушка с углублением, где с помощью анкеров устанавливается и фиксируется колонна.
Кроме зданий с анкерными соединительными элементами, также в таких основаниях можно предусмотреть:
- трубопроводы различного типа и диаметра;
- канализационные системы с анкерными крепежами;
- электрические сети;
- специальные поддерживающие элементы и конструкции.
Учитывая высокие требования по прочности к таким конструкциям, все расчеты и дальнейшее возведение проводится максимально точно, контроль качества на каждом этапе возведения, а строительные материалы полностью соответствуют нормам.
Монолитный фундамент под металлическую колонну
Устройство монолитного основания под металлическую стальную колонну
Как правило, при строительстве таких фундаментов редко используются сборные конструкции, ведь тогда приходится делать дополнительные расчеты несущих способностей зданий.
В таких случаях лучше монолитный бетонный фундамент, ведь он и прочнее, и быстрее заливается. Этапы возведения монолитной подушки для колонны приблизительно следующие:
- Расчет максимально допустимых нагрузок на подошву.
- Проведение разметки мест установки колонн, подготовка почвы.
- Рытье котлована на заданную глубину и соответствующих размеров.
- Подготовка внешней опалубки. Она делается с досок или влагостойкой фанеры, в большинстве случаев несъемная.
- Выравнивание внутренней поверхности котлована, формирование песчано-гравийной подушки.
- Создание основного армирующего пояса по периметру подушки в горизонтальном и вертикальном направлениях.
- Заливка котлована бетоном. В это время заблаговременно устанавливаются геодезические уровни и высотные знаки. Они используются при дальнейшем монтаже колонн, а также при ремонте фундамента через просадку.
Как правило, при возведении колонных фундаментов делаются различные высотные отметки, они наносятся на внешний слой бетона, также указывается уровень расположения анкерных соединений, закладочных элементов и других монтажных аксессуаров.
Анкерные соединения
Конструктивная схема с указанием нахождения анкерных соединений
В зависимости от типа выбранной колонны, анкерные соединения подбираются в индивидуальном порядке. Установки и фиксация колонны выполняется с помощью больших болтов или анкеров, которые затем привариваются к арматурному слою и надежно удерживают колонну в вертикальном положении.
Отличительная особенность монтажа соединительных элементов в том, что после их закрепления фундамент разбивают. Если после этого отклонения болтов не произошло, то монтаж считают выполненным правильно, а если есть отклонения центров на расстояние от 2 мм, тогда анкера заменяют.
Расчет фундаментов под колонны
Схема установки стальных колонн на фундаменты
Такие основания всегда рассчитываются под конкретное геодезическое обеспечение. Для правильного обеспечения геодезических параметров проводится контроль вертикальных и горизонтальных высотных положений болтовых соединений. Для таких целей отлично подходят готовые шаблоны или специальный кондуктор.
Шаблоны – это металлические или деревянные рамки конкретных размеров, в которых уже есть готовые гнезда под будущие анкера. Они соединяются по опалубке с осями монолитного фундамента, закрепляются.
Шаблоны должны быть установлены абсолютно ровно, поэтому проводится дополнительное измерение вертикали с помощью строительного уровня или нивелира. В некоторых случаях оправданным будет использование сварочных работ, когда шаблоны жестко устанавливают на арматуру монолитной бетонной подушки.
Установка фундамента
Для возведения стаканных сооружений важно придерживаться прописанных стандартов. Процесс монтажа не так уж сложен, если точно придерживаться определенной очередности работ. Шаги по возведению фундамента
Шаги по возведению фундамента
- Грамотная предварительная подготовка грунта.
Он должен быть хорошенько выровнен и размечен. Дело в том, что на нем будут размещены железобетонные балки, которые категорически запрещается смещать.
Если характеристики строительной площадки не позволяют сделать этого, то вполне можно подсыпать привезенный грунт и как следует его утрамбовать. - Уплотнение грунта.
Когда почва достаточно подготовлена, можно переходить к ямам, которые выкапываются в заранее определенных отмеченных местах.
Днища готовых ям трамбуются и уплотняются посредством гравия. - Далее настает черед установки блоков.Необходимо тщательно следить, чтобы поверхности всех устанавливаемых элементов находились в строго горизонтальной плоскости. Пользуются для этого разными приспособлениями, например, нивелиром либо обычным строительным уровнем. Когда все используемые элементы будут установлены, требуется очистить их поверхность от всех видов загрязнений.
Правильно установленный стаканный фундамент равномерно распределяет нагрузки от строения по всей поверхности почвы.
Важное условие для этого – устойчивый к просадкам, пучинистости, деформациям грунт. Такие его характеристики необходимы для отсутствия последующей просадки строения, образования трещин. Другими словами, они обеспечивают постройке надежность, увеличивают возможный срок ее эксплуатации
Другими словами, они обеспечивают постройке надежность, увеличивают возможный срок ее эксплуатации
Такие его характеристики необходимы для отсутствия последующей просадки строения, образования трещин. Другими словами, они обеспечивают постройке надежность, увеличивают возможный срок ее эксплуатации.
Соблюдение технологии
Чтобы избежать ошибок при установке основания должны быть предприняты необходимые меры, обеспечивающие ему необходимую прочность.
Соблюдайте технические требования специального ГОСТа!
- Требуется использовать бетон марки М200 (или выше ее качеством), что необходимо для высоких выдерживающих способностей и надлежащей прочности будущих опорных столбов;
- В процессе возведения конструкции должен обеспечиваться уровень водопоглощения не выше пяти процентов;
- Все конструкции устанавливаются лишь после обретения ими необходимой прочности;
- Необходимо обязательное армирование колонн специальной стальной арматурой;
- Толщина раствора вокруг металлических прутов должна быть не менее 3 см;
- Допускаются трещины после высыхания размером не больше 1/10 одного мм;
- В процессе монтажа, после того, как опорные колонны будут установлены, следует удалить все имеющиеся специальные монтажные петли.
Особенности конструкции
Конструктивные различия стаканного фундамента под опорную колонну, максимальные параметры и разрешенные нагрузки, размеры опорной подошвы и тип каркасной арматуры определены специальным ГОСТом 23 972 80. Основными элементами фундаментной конструкции являются:
- опорная подушка монолитного типа, отличающаяся большими круглыми или прямоугольными формами и имеющая гидроизоляционную защиту. Подушка может изготавливаться в заводских условиях или заливаться непосредственно на месте монтажа с предварительным устройством песчано-гравийного слоя;
- подстаканника из железобетона, располагаемого в центральной части фундаментной плиты;
- колонны определенной длины, изготовленной из металла или железобетона, которая устанавливается в стакан;
- опорного столба, удерживающего несущую балку, на которой располагаются элементы перекрытий будущего здания.
Согласно расчетам, плита фундамента стаканного типа под колонны с учетом предполагаемых нагрузочных воздействий может занимать площадь от двенадцати до пятидесяти двух квадратных метров. Может быть монолитной или сборной, при этом поверхность ее в первом случае горизонтальная, а во втором – наклонная.
В промышленной сфере предпочтение отдается монолитному типу, как более простому в установке и не требующему особых финансовых затрат на аренду специальной техники.
Стакан и плита могут быть исполнены в виде единой монолитной конструкции, либо оба эти элемента соединяются за счет армирующих каркасов. Этот вопрос определяется характеристиками почвенного состава и предполагаемыми нагрузками от сооружения.
Стаканные элементы усилены горизонтальным и вертикальным армированием, жестко соединенными между собой. Монтаж фундаментов такого типа осуществляется на устойчивую почву.

Технология монтажа
Далее подробнее рассказывается, как нужно заниматься монтажом фундаментов стаканного типа, чтобы он точно раскрывал все свои преимущества в процессе использования. Сделать его не так трудно, но нужно соблюдать правильную очередность шагов.

Подготовительный этап
Первым шагом всегда оказываются земельные работы. Так и здесь, перед тем как начинать работать с самим стаканным фундаментом, нужно подготовить для него место. Для этого снимается верхний плодородный слой на рассчитанную глубину.
Здесь можно сделать углубления под каждый блок отдельно, а можно сделать цельную траншею по контуру будущего строения, а внутри разметить метки, где должны оказаться бетонные стаканные секции.
Подсыпка и уплотнение
Этот шаг предполагает создание песчано-гравийной подушки. Особенно она важна, когда почвы слабые, так как те могут сильно деформироваться, начав движение под массой не только стаканного фундамента, но также всей конструкции на нем.
Толщина слоев песка и гравия (они одинаковы) сначала определяется на стадии проектирования, так как они зависят от типа почв, а также величины планируемой постройки.
В начале насыпают и утрамбовывают гравий. Его иногда немного присыпают песком, смачивают водой, чтобы слой оказался плотнее. Далее то же происходит с песчаной подушкой — она насыпается на нужную высоту, смачивается, утрамбовывается. После подсыпается песок, снова смачивается и утрамбовывается, так как он будет постоянно проседать. Таким образом нужно добиться нужной высоты постоянными подсыпаниями и утрамбовываниями.
Разметка
Доски и ленты помогут на этом этапе. С их помощью нужно разместить участки, на которых будут располагаться плиты.

После начинается разбивка осей. Для этого пригодятся проволока или стальные тросы. Их закрепляют на обноске, а в местах пересечения устанавливается отвес, чтобы точно указать точку установки опорного блока.
Контур плиты перед укладкой лучше перенести на грунт, лучше всего с помощью колышков и веревок.
На этапе разметки также проверяют, насколько горизонтальная подсыпка ровная. Иногда приходится что-то дополнительно снимать или досыпать.
Установка блока
Чтобы правильно установить блоки-подстаканники, нужно опираться на следующую технологию:
- На каждом блоке есть специальные монтажные петли. Кран цепляется за эти крюки и поднимает его. Со дна убирается лишний грунт.
- Блок переносится на нужное место, его расположение корректируется с уже установленной или залитой бетонной подушкой.
- Как только закончится выравнивание, устанавливают блок.
- Останется только сделать армирование, все стержни уже будут готовы, их только нужно сварить друг с другом.
Пространство вокруг блоков засыпается землей.

Гидроизоляция
Когда основа стаканного фундамента делается из готовых блоков, ей не требуется гидроизоляция, так как она уже предусмотрена. Но если бетонные подушки заливаются прямо на участке, им обязательно нужна защита от влаги. Чтобы обеспечить ее, нужно выполнить такие шаги, как:
- Очистка бетонной подушки от загрязнений.
- Выравнивание жидким бетоном (при необходимости).
- Нанесение битумной мастики.
- Размещение на мастике рубероида. Швы проклеиваются той же мастикой с нахлестом не менее 10 см.

Монтаж колонн
Так как защитная подушка и сам подстаканник уже готовы, а также гидроизолированы, осталось лишь провести монтаж колонн в стаканы фундаментов. Для этого предстоит выполнить следующие шаги:
Измерить колонны, чтобы определить место, где нужно сделать правильный захват, не сломав и не уронив колонну при установке. На этом месте ставится риска. Специальная техника выполняет установку колонн быстро, по две из одной точки
Важно, чтобы колонны и основание как можно плотнее прилегали друг к другу. Это позволит исключить риск сдвига балок. Установить опорные балки, проверяя, правильно ли расположились колонны
Убрать монтажные детали, закрепить балки канатами и сделать навеску над колоннами. Балка опускается до упора по рискам
Установить опорные балки, проверяя, правильно ли расположились колонны. Убрать монтажные детали, закрепить балки канатами и сделать навеску над колоннами. Балка опускается до упора по рискам.
Сначала балки крепятся на болты, но только после проверки того, насколько ровно стоит вся конструкция, можно окончательно закрепить их в консолях. Только после этого можно считать работу над стаканным фундаментом законченной.
Нормативы изготовления

При изготовлении заводом должны соблюдаться ГОСТ 24476-80 для стандартных изделий.
ГОСТ 24022-80 применим для сельскохозяйственных одноэтажных зданий, где может понадобиться усиление конструкции.
Технические требования
Фундаменты изготавливают в стальных формах для обеспечения точной геометрии.
Марка бетона не может быть ниже, чем М200. Марку М300 применяют, если такое требование установлено проектом. Фактическая и отпускная прочность бетона при отгрузке не должна быть менее 70% от расчётной, а для зимнего периода не менее 90%.
Морозостойкость выбирают исходя из климатических условий района использования.

Армирование бетона проводят согласно чертежам, указанных в приложении к ГОСТ. Арматура применяется гладкая горячекатаная с классом металла не ниже А-I, либо периодического профиля из стали класса Ас-II. В регионах, где температура опускается ниже 40°С применяют только класс Ас-II c маркой стали 10-ГТ.
Толщина защитного слоя 50 мм с отклонением не более +10 мм и -5 мм. Защитный слой — это расстояние от внешней поверхности конструкции до ближайшей к ней арматуры в сетке.
Каждое место пересечения обязательно соединяют сваркой — скрутки вязальной проволокой не допускаются.
Отклонения размеров стаканов от чертежей не должно превышать 16 мм в горизонтальной и 10 мм в вертикальной плоскости.
Соединение колонны и фундамента
Бетонные колонны устанавливают в полость и укрепляют, выравнивая в вертикальной плоскости. Промежуток между столбом и стенками стакана заливают бетоном, марки не ниже М200.
Стальные колонны приваривают к выпущенной из стенок арматуре, свободные полости также заливают цементным раствором. Возможно крепление анкерными болтами.
Размеры
Стандартные геометрические размеры стаканов под колонны указаны в таблице, размещённой в ГОСТ. Критически важными являются размеры подошвы, которые могут быть от 1200х1200 до 2100х2100 мм. От площади зависит несущая способность всего фундамента.
В отдельных случаях ГОСТ допускает минимальный размер основания плиты 900х900 мм.
Разновидности колонн
По краям дома (там, где нагрузки меньше) колонны могут быть выполнены из стальной квадратной трубы сечением 150 мм. Труба соединяется с основанием и потолочным перекрытием анкерным способом. По месту стальные колонны устанавливаются с помощью крана.
1 из 1
На фото:
Обратите внимание на деревянные стены, которые возводятся вокруг колонн. Они не будут несущими
Роль колонн могут выполнять и небольшие по площади, но функционально важные кирпичные стены
Стены же, выполненные в виде лёгких деревянных коробчатых конструкций, являются независимыми и вертикальных нагрузок не испытывают
Роль колонн могут выполнять и небольшие по площади, но функционально важные кирпичные стены. Стены же, выполненные в виде лёгких деревянных коробчатых конструкций, являются независимыми и вертикальных нагрузок не испытывают.
На верандах и на крыльце колонны могут выполняться из деревянного бруса и из оцилиндрованного бревна. Их фиксация на бетонном основании производится путем установки в закрепленные анкерами стальные стаканы.
1 из 1
На фото:
Фиксация деревянной колонны в металлическом «стакане».
Наконец, самые важные колонны — по центру дома. Обычно здесь выполняются колонны расчетного сечения на металлическом каркасе — они отливаются из бетона в инвентарной опалубке.
Когда снимать опалубку с колонны?
Конструкция распалубливается только после того, как бетон наберет остаточную прочность. В этом – одна из причин, почему применение стальных колонн оказывается экономически целесообразным. Ведь инвентарная опалубка стоит недешево, и её ждут на других объектах. Так что комбинация бетонных и стальных колонн позволяет снизить стоимость общестроительных работ.
На фото: Колонна в инвентарной опалубке Фото: Концерн «Строительные концепции».
Особенности и порядок монтажа фундамента стаканного типа
Схема стаканных оснований.
Монтаж сборных монолитных фундаментов стаканного типа под колонны выполняется под обязательным контролем уполномоченных специалистов, обеспечивающим четкое выполнение всех требований, установленных государственными стандартами. В процессе обустройства таких фундаментов железобетонные изделия проходят несколько очень важных этапов.
Перед началом монтажа подготавливается поверхность. Ее нужно тщательно разровнять, т.к. в дальнейшем будет выполнен монтаж железобетонных балок, смещение которых крайне нежелательно, да и вовсе невозможно.
После этого выполняется устройство углублений (ям). Не забывайте о том, что, после того как углубления будут готовы, нужно обязательно выполнить их уплотнение с помощью гравия. Далее можно приступать к трамбовке и устройству фундамента. На данном этапе дополнительно трамбуется грунт и устанавливаются блоки.
Весь процесс монтажа конструкций сопровождается выполнением ряда манипуляций, нацеленных на подгонку поверхности, а именно достижения ее ровности. Осевое положение и горизонтальная точность всех элементов системы контролируется при помощи геодезических инструментов. После того как стаканы будут установлены, нужно обеспечить их надежную защиту от возможных загрязнений.
Необходимо еще раз напомнить, что главной целью, с которой выполняется монтаж сборных фундаментов стаканного типа, является равномерное распределение нагрузок, поступающих от строения, по всей поверхности земли. Ввиду этого монтаж подобного фундамента может выполняться исключительно на почве, характеризующейся высокой несущей способностью и устойчивостью к пучинистости и просадке.
Выполняя монтаж фундамента, нужно тщательно придерживаться всех рекомендованных показателей морозоустойчивости и прочности сжатия. И лишь в этом случае вам будет гарантировано высочайшее качество основания, а также отсутствие деформационных изменений и трещин в стенах.
Хотя производство фундаментных стаканов достаточно сложное, требующее опалубки и армирования, в результате применение таких изделий упрощает монтаж и существенно сокращает финансовые расходы на устройство фундамента.
На рынке доступно несколько вариантов данного типа фундамента. Они отличаются между собой размерами, весом и, соответственно, стоимостью.
Анкерные соединения
Конструктивная схема с указанием нахождения анкерных соединений
В зависимости от типа выбранной колонны, анкерные соединения подбираются в индивидуальном порядке. Установки и фиксация колонны выполняется с помощью больших болтов или анкеров, которые затем привариваются к арматурному слою и надежно удерживают колонну в вертикальном положении.
Отличительная особенность монтажа соединительных элементов в том, что после их закрепления фундамент разбивают. Если после этого отклонения болтов не произошло, то монтаж считают выполненным правильно, а если есть отклонения центров на расстояние от 2 мм, тогда анкера заменяют.





































